আজকে আমরা চল তড়িৎ এর ব্যবহারিক: তাপের যান্ত্রিক সমতা নির্ণয় সম্পর্কে আলোচনা করবো । যা বাউবি এইচএসসি ২৮৭১ পদার্থ বিজ্ঞান ২য় পত্র ইউনিট ২ চল তড়িৎ এর অন্তর্ভুক্ত।

চল তড়িৎ এর ব্যবহারিক: তাপের যান্ত্রিক সমতা নির্ণয়
তাপের যান্ত্রিক সমতা নির্ণয়ের জন্য টি নিচে আলোচনা করা হলো ।
তত্ত্ব:
এক ক্যালরি তাপ উৎপন্ন করতে যত জুল কাজ সম্পন্ন করতে হয় তাকে তাপের যান্ত্রিক সমতা বলা হয়। কোনো পরিবাহীর দুই প্রান্ড্রের বিভব পার্থক্য যদি / ভোল্ট হয় এবং এর মধ্য দিয়ে / অ্যাম্পিয়ার প্রবাহ। সেকেন্ড ধরে চালালে ব্যায়িত তড়িৎশক্তি W = VIt জুল।
এই তড়িৎ শক্তি তাপ শক্তিতে রূপার্ল্ডরিত হলে যদি H ক্যালরি তাপ উৎপন্ন হয় তবে আমরা জানি,
W=JH
বা, J = W/H = VIt/H = জুল/ক্যালরি ………………….(1)
এখানে J = তাপের যান্ত্রিক সমতা।
কুন্ডলী আকারের পরিবাহী যদি ক্যালরিমিটারে রক্ষিত কোনো তরলের মধ্যে নিমজ্জিত থাকে এবং তড়িৎ প্রবাহের ফলে উৎপন্ন তাপ ক্যালরিমিটার ও তরল কর্তৃক শোষিত হওয়ার ফলে তাপমাত্রা 61 থেকে 62-এ উন্নীত হলে ক্যালরিমিটার ও তরল কর্তৃক শোষিত তাপ ক্যালরি এককে,
H = (m1S1 + m2S2) (02 – 01) ………………….(2)
এখানে, m1 = নাড়ানিসহ ক্যালরিমিটারের ভর (gm)
m2 = তরলের ভর ( gm)
S1 = ক্যালরিমিটারের উপাদানের আপেক্ষিক তাপ (cal gm-1°C-1)
S2 = তরলের আপেক্ষিক তাপ (calgm-1°C-1)
সমীকরণ (1) ও (2) থেকে আমরা পাই, তাপের যান্ত্রিক তুল্যাঙ্ক,
J= VIt/ (m1S1 + m2S2) (02 – 01) jcal-1 ……..(3)
যন্ত্রপাতি:
জুলের ক্যালরিমিটার, অ্যামমিটার, ভোল্টমিটার, স্টপওয়াচ, থার্মোমিটার, পরিবর্তনশীল রোধ, ব্যাটারী, সংযোগকারী তারইউনিট ২,
চাবি, তার্পিন তেল ।
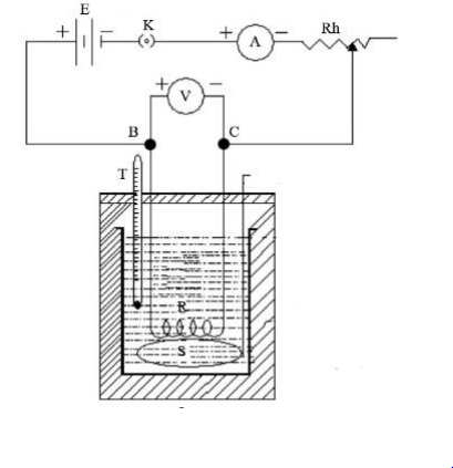
বর্তনী সংযোগ
একটি জুলের ক্যালরিমিটার নিয়ে এর রোধ R এর সাথে একটি ব্যাটারী E, পরিবর্তনশীল রোধ Rh, অ্যামমিটার A, চাবি K শ্রেণিবদ্ধভাবে যুক্ত করা হয়। ক্যালরিমিটারের রোধ R এর দুই প্রাড় B ও C এর সাথে বিভব পার্থক্য পরিমাপ করার জন্য একটি ভোল্টমিটার / সমাাল সংযোগে যুক্ত করা হয়।

কাজের ধারা:
১। বর্তনী সংযোগের পূর্বে নাড়ানীসহ জুলের ক্যালরিমিটার ধুয়ে মুছে শুকিয়ে এর ভর পরিমাপ করা হয় ।
২। এবার ক্যালরিমিটারে কিছু তরল (যেমন তার্পিন তেল) পদার্থ নিয়ে পুনরায় ভর পরিমাপ করা হয়। দ্বিতীয় ভর থেকে প্রথম ভর বাদ দিলে তরল পদার্থের ভর পাওয়া যায়।
৩। একটি থার্মোমিটার T এর সাহায্যে তরলের প্রাথমিক তাপমাত্রা 01 নির্ণয় করা হয়।
৪। চাবি বন্ধ করে তড়িৎ প্রবাহ চালনা করা হয় এবং এক মিনিট অর্ল্ডর অ্যামমিটার থেকে / এবং ভোল্টমিটারের সাহায্যে R এর দুই প্রান্ড্রের বিভব পার্থক্য / দেখে নেয়া হয়। তড়িৎ প্রবাহ চালনা করার সাথে সাথে স্টপওয়াচ চালু করা হয়। পরীক্ষা চলাকালে তড়িৎ প্রবাহের মান যদি উলেণ্ঢখযোগ্য পরিমাণে পরিবর্তিত হয় তাহলে পরিবর্তনশীল রোধ তথা রিয়োস্টাটের সাহায্যে অ্যামমিটারের পাঠ নির্দিষ্ট মানে স্থির রাখা হয়।
৫। তরলের উষ্ণতা যখন প্রায় 10°C বেড়ে যায় তখন তড়িৎ প্রবাহ এবং স্টপওয়াচ বন্ধ করে সময় । এবং চূড়ান্ত্ তাপমাত্রা ৪। দেখে নেয়া হয়।
পর্যবেক্ষণ ও সন্নিবেশন
১। নাড়ানীসহ জুলের ক্যালরিমিটারের ভর, m1= ………………….. gm
২। নাড়ানীসহ জুলের ক্যালরিমিটারের ও তরলের ভর, m’2 = ………………… gm
৩। তরলের ভর, m2 = m’2 – m1 ………………. gm
৪। ক্যালরিমিটার উপাদানের আপেক্ষিক তাপ, S1 = ………………..cal gm-1 C-1
৫। তরলের আপেক্ষিক তাপ, S2 = ………………………….cal gm-¹ C-1

হিসাব
J= Vlt/ (m1s1 + m2s2) (02 – 01) j cal-1 = ………………………..j cal-1
ফলাফল:
তাপের যান্ত্রিক সমতা, J = j cal-¹
সতর্কতা:
১। থার্মোমিটারের বাল্ব যাতে রোধ কুন্ডলীকে স্পর্শ না করে সেদিকে খেয়াল রাখতে হবে।
২। তরলকে অবিরত নাড়তে হবে।
৩। প্রবাহ ও বিভব পার্থক্য পরিবর্তন হতে পারে; সে কারণে গড় প্রবাহ ও গড় বিভব পার্থক্য নির্ণয় করতে হবে।
৪। বিকিরণ সংশোধন করে সর্বোচ্চ তাপমাত্রা নির্ণয় না করায় J এর সঠিক মান নাও পাওয়া যেতে পারে।
