আজকে আমরা দিক পরিবর্তী তড়িৎ প্রবাহ ও তড়িচ্চালক শক্তি সম্পর্কে আলোচনা করবো। যা বাউবি এইচএসসি ২৮৭১ পদার্থ বিজ্ঞান ২য় পত্র ইউনিট ৪ তাড়িতচৌম্বক আবেশ ও দিক পরিবর্তী প্রবাহ এর অন্তর্ভুক্ত।

দিক পরিবর্তী তড়িৎ প্রবাহ ও তড়িচ্চালক শক্তি
দিক পরিবর্তী তড়িৎ প্রবাহ ও তড়িচ্চালক শক্তি তড়িৎ কোষ থেকে বর্তনীতে তড়িৎ প্রবাহ প্রেরণ করলে তড়িৎ প্রবাহ বর্তনীর মধ্য দিয়ে সমমাত্রায় একই দিকে প্রবাহিত হয়। এ ধরনের তড়িৎ প্রবাহকে সমপ্রবাহ বা একমুখী প্রবাহ (direct current) বলা হয়। একে সংক্ষেপে ডি.সি (D.C) বলা হয়। ডি.সি ভোল্টেজের তরঙ্গরূপ সরলরেখা হয় (চিত্র)
দিক পরিবর্তী প্রবাহ:
কোনো বর্তনীতে প্রবাহমাত্রা যদি একটি নির্দিষ্ট সময় পরপর বারবার বিপরীত মুখী হয় এবং প্রবাহমাত্রা একটি নির্দিষ্ট সময় অনড়র সর্বাধিক ও সর্বনিম্ন মান প্রাপ্ত হয়, তাহলে এ ধরনের তড়িৎ প্রবাহকে দিক পরিবর্তী প্রবাহ (alternating current) বলা হয়। একে সংক্ষেপে এ.সি. (AC) বলা হয়।

দিক পরিবর্তী তড়িচ্চালক শক্তি:
যে তড়িচ্চালক শক্তির ক্রিয়ায় কোন বর্তনীতে তড়িৎপ্রবাহ একটি নির্দিষ্ট সময় পরপর দিক পরিবর্তন করে এবং নির্দিষ্ট সময় পরপর সর্বোচ্চ ও সর্বনিম্ন মান প্রাপ্ত হয়, সেই তড়িচ্চালক শক্তিকে দিক পরিবর্তী তড়িচ্চালক শক্তি বলে ।
দিক পরবর্তী প্রবাহ বা দিক পরিবর্তী তড়িচ্চালক শক্তির পর্যায়কাল,
T= 2w/r

পরিবর্তী তড়িচ্চালক শক্তি সময়ের সাথে সাইন সদৃশ ভাবে (sinsudially) পরিবর্তিত হয় এবং তা নিম্নলিখিত সমীকরণ দ্বারা প্রকাশ করা হয়-
ε = εo sinwt …………………(1)
এখানে, ε = যে কোন সময় t তে আবিষ্ট তড়িচ্চালক শক্তির মান,
εo = আবিষ্ট তড়িচ্চালক শক্তির সর্বোচ্চ বা শীৰ্ষমান,
w = উৎসের কৌণিক বেগ তথা তড়িচ্চালক শক্তির কৌণিক কম্পাঙ্ক ।
ε পরিবর্তী তড়িচ্চালক শক্তির উৎসের সাথে যদি রোধ R সংযুক্ত করা হয় তাহলে তড়িৎ প্রবাহ,
I= ε/R = εo/Rsinwt …………………(2)
বা, I = Iosinwt
= Iosin2πft
এখানে, Io = εo/R f = তড়িৎ প্রবাহের সর্বোচ্চ বা শীর্ষমান
f= কম্পাঙ্ক
f= L/T = w/2π
দিক পরিবর্তী তড়িৎ প্রবাহ সৃষ্টি (Generation of Alternating Current)
যে যন্ত্রের সাহায্যে যান্ত্রিক শক্তিকে বিদ্যুৎ শক্তিতে রূপান্ডুরিত করা যায় তাকে জেনারেটর বা ডায়নামো বলা হয়। ডায়নামো দুই রকম: A.C ডায়নামো ও D.C ডায়নামো।
দিক পরিবর্তী তড়িৎ প্রবাহ পেতে হলে এমন একটি উৎস প্রয়োজন যা দিক পরিবর্তী তড়িচ্চালক শক্তি উৎপন্ন করে। এ.সি জেনারেটর এমন একটি উৎস।

এ.সি জেনারেটরের কার্যনীতি:
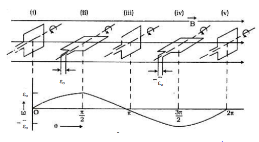
একটি শক্তিশালী চৌম্বকক্ষেত্র বহুপাক বিশিষ্ট একটি তারের কুন্ডলীকে ঘুরানো হয়। কুলী চৌম্বক ক্ষেত্রের ক্ষেত্ররেখাগুলিতে ছেদ করে এবং তড়িতচৌম্বক আবেশের নিয়মানুযায়ী কুলীতে তড়িচ্চালক শক্তি আবিষ্ট হয়। কুলীর দুই প্রার্ল্ড বহিবর্তনীর সাথে সংযুক্ত থাকায় বর্তনীতে দিক পরিবর্তী প্রবাহ সৃষ্টি হয়।
যখন কুলী চৌম্বকক্ষেত্রের ক্ষেত্ররেখা ছেদ করে না তখন তড়িচ্চালক শক্তি শূন্য। কুলীর ঘূর্ণনের সাথে তড়িচ্চালক শক্তি –এর মান শূন্য থেকে বৃদ্ধি পেয়ে + এবং এরপর ক্রমশ হ্রাস পেয়ে শূন্য মানে পৌঁছায়। এরপর বিপরীত দিকে পুনরায় বৃদ্ধি পেয়ে – হয় এবং আবার হ্রাস পেয়ে শূন্য মানে আসে।
এভাবে তড়িচ্চালক শক্তির পরিবর্তনের একটি পূর্ণ যন্ত্র / সময়ে সম্পন্ন হয়। জেনারেটরের কুটুলীর একটি পূর্ণ ঘূর্ণনের সময়ে পরিবর্তী প্রবাহ বা পরিবর্তী তড়িচ্চালক শক্তির পরিবর্তন নিচের চিত্রে দেখানো হল ।

গাণিতিক উদাহরণ
১। একটি দিক পরিবর্তী প্রবাহকে I= 50 sin 400 mt এই সমীকরণ দ্বারা প্রকাশ করা যায়। প্রবাহের কম্পাঙ্ক ও শীর্ষমান কত?
সাইন সদৃশ দিকপরিবর্তী প্রবাহকে নিচের সমীকরণ দ্বারা প্রকাশ করা যায়:
I = Io sinwt
আবার, w = 2π/T = 2πf
I = Io sin2πf t …………………(1)
প্রদত্ত সমীকরণ, I = 50 sin 400πt …………………(2)
সমীকরণ (১) ও (২) তুলনা করলে পাওয়া যায়,
Io = প্রবাহের শীর্ষমান = 50 A
আবার, 2πf = 400π
কম্পাঙ্ক = f = 400π/2π = 200 Hz.
উ: কম্পাঙ্ক = 200 Hz, শীর্ষ প্রবাহ মান = 50 A
৪.৬। কোনো দিক পরিবর্তী প্রবাহের কম্পাঙ্ক 50 Hz. প্রবাহ শূন্য থেকে শীর্ষমানে পৌঁছাতে কত সময় লাগবে?
এখানে, f = 50Hz.
আমরা জানি,
পর্যায়কাল, T = 1/f
T = 1/50Hz = 0.02s
প্রবাহ শূন্য থেকে শীর্ষ মানে পৌছাতে প্রয়োজনীয় সময়,
সময়, t = T/4 = 0.02/4 = 5×10-3s
উ: 5×10-3s
সার-সংক্ষেপ :

দিক পরিবর্তী তড়িৎ প্রবাহ ও তড়িচ্চালক শক্তিঃ
কোনো বর্তনীতে প্রবাহমাত্রা যদি একটি নির্দিষ্ট সময় পরপর বারবার বিপরীতমুখী এবং প্রবাহমাত্রা একটি নির্দিষ্ট সময় অনড় সর্বাধিক ও সর্বনিম্ন মান প্রাপ্ত হয় তাহলে এ ধরনের তড়িৎ প্রবাহকে দিক পরিবর্তী তড়িৎ প্রবাহ বলে।
যে তড়িচ্চালক শক্তির ক্রিয়ায় কোনো বর্তনীতে পরিবর্তী প্রবাহ চলে সেই তড়িচ্চালক বলকে পরিবর্তী তড়িচ্চালক বল বলে।
বহুনির্বাচনি প্রশ্ন
সঠিক উত্তরে পাশে টিক (√) চিহ্ন দিন।
১। একটি দিক পরিবর্তী প্রবাহ প্রতি 1/100s সময়ে দিক পরিবর্তন করে। এর কম্পাঙ্ক-
ক. 120 Hz.
খ. 1/120Hz
গ. 60 Hz
ঘ. 1/60Hz
২। নিচের চিত্রে একটি দিক পরিবর্তী প্রবাহের পরিবর্তন দেখানো হল। কম্পাঙ্ক কত?

ক. 100 Hz
খ. 20 Hz
st. 200 Hz
ঘ. 10 Hz
৩। ডায়নামোর সাহায্যে
ক. যান্ত্রিক শক্তিকে বিদ্যুৎ শক্তিতে রূপান্তরিত করা হয়
খ. উচ্চ ভোল্টেজকে নিম্ন ভোল্টেজে রূপান্তর করা হয়
গ. বিদ্যুৎ শক্তিকে যান্ত্রিক শক্তিতে রূপান্তরিত করা হয়
ঘ. যান্ত্রিক শক্তিকে বহুগুণে বৃদ্ধি করা হয়।
